- 🏠 简介
- 📥 源码下载
- 🚀 安装指南
- 🔧 niucloud (服务端)
- 🖥️ admin (后台管理端)
- 📱 uni-app(手机端前端)
- 🌐 web端(PC前端)
- ⚙️ 代码生成器
- ⚙️ 配置手册
- 📚 使用手册
- 🔄 版本更新
-
❓ 常见问题
- 服务器问题
- 安装问题
- 使用问题
- 版本问题
-
其他问题
- 怎么添加菜单,添加了菜单不出现怎么回事
- 站点site端(租户端、商家端)和saas管理端(平台端)究竟啥意思,有啥区别
- 框架中是有订单表order,假如开发一个商城插件,请问商城的订单数据是不是重新搞一个订单表shop_order
- 有些支付平台是绑定回调唯一网址或目录,如果有几个开发者开发插件都有支付那这块怎么解决?
- 站点过期,可以登录,这样对吗?
- 计划任务怎么启动啊
- Git多分支开发,切换分支
- 安装应用出现is_dir()报错处理方案
- 绑定授权时出现“请求来源产品与授权产品不一致”解决方案
- “未找到admin源码所在目录”的解决方案
- 页面装修本地开发环境配置
- 接口请求错误处理方案
- 未获取到授权信息问题处理方案
- 腾讯地图配置
- 请求超时问题处理方案
- 下载应用时提示找不到zip解决方案
- 怎么关闭开发调试模式
- 获取数据失败问题处理方案
- 框架安装后,访问域名无法进入admin端(多数发生在本地)
- 底部导航失效问题
- 开放平台小程序审核通过发布失败问题
- 先升级插件后升级框架,导致云编译报debounce的错误
- 微信公众号自动回复不通
- 如何修改访问域名默认跳转端口
- 插件与框架的版本兼容问题处理方案
- 升级提示mkdir()处理方案
- 云编译时node.js内存不足导致内存溢出处理方案
- 报错Allowed memory size of ** bytes exhausted (tried to allocate ** bytes)处理方法
- Mysql修改sql_mode模式
- 框架1.0.2之前升级最新版错误Undefined array key "content"
- 安装插件提示不适配框架版本的处理
会员余额
功能概述
会员余额页面用于展示和管理所有会员的余额信息,包括总余额统计、余额变动记录查询以及详细的余额变动明细查看,帮助商家实时掌握会员资金动态和进行资金管理。
主界面介绍
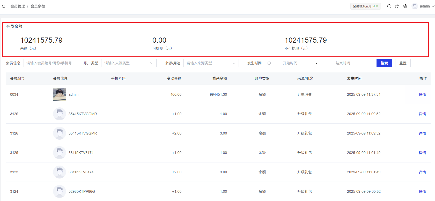
余额统计区域
位于页面顶部,展示关键余额数据:

-
余额(元):显示所有会员的总余额。
-
可提现(元):显示所有会员可提现的余额总额。
-
不可提现(元):显示所有会员不可提现的余额总额。
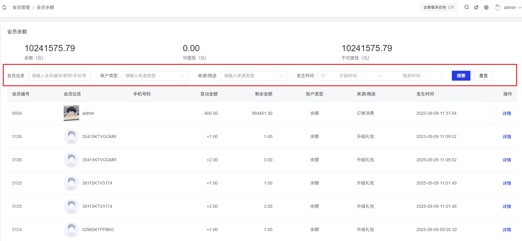
搜索和筛选区域
提供多种筛选条件,方便快速查找特定的余额变动记录:

-
会员信息:通过会员编号或手机号码搜索特定会员的余额记录。
-
账户类型:通过下拉菜单选择账户类型进行筛选。
-
来源用途:通过下拉菜单选择资金来源或用途进行筛选。
-
发生时间:通过日期选择器设置时间范围进行筛选。
-
搜索按钮:点击后执行搜索操作。
-
重置按钮:清空所有搜索条件并重置筛选。
余额变动列表
以表格形式展示会员余额变动的详细记录,包含以下列:

-
会员编号:显示会员的唯一编号。
-
会员信息:显示会员头像和昵称。
-
手机号码:显示会员的手机号码。
-
变动金额:显示余额变动的金额(正数表示增加,负数表示减少)。
-
剩余金额:显示变动后的剩余余额。
-
账户类型:显示账户类型,如余额。
-
来源/用途:显示资金变动的来源或用途,如订单消费、升级礼包等。
-
发生时间:显示余额变动的具体时间。
-
操作:包含"详情"按钮,点击后可查看该笔余额变动的详细信息。
余额变动详情
操作入口
在余额变动列表中,点击对应记录的"详情"按钮。
弹窗界面
打开余额变动详情弹窗,展示该笔余额变动的完整信息:

-
会员头像:显示会员的头像。
-
会员编号:显示会员的唯一编号。
-
会员昵称:显示会员的昵称。
-
手机号码:显示会员的手机号码。
-
变动金额:显示该笔余额变动的具体金额(带正负号)。
-
来源/用途:显示该笔资金变动的来源或用途,如订单消费、升级礼包等。
-
备注:显示该笔变动的备注信息。
-
发生时间:显示该笔余额变动的具体时间。
-
确定按钮:点击后关闭详情弹窗。